- sottoscrivi il feed RSS di setteB.IT
- visita il canale Twitter di setteB.IT
- visita il canale YouTube di setteB.IT
- pubblica questo articolo su LinkedIn
- pubblica questo articolo su StumbleUpon
- pubblica questo articolo su delicious
- segnala l'articolo su Digg
Multifunzione, il “tutto in uno” di Apple?
08/09/2006 07:00 CET
di Fabio M. Zambelli
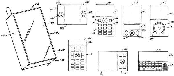
Sembra un parallelepipedo vuoto ma può integrare le funzioni di player musicale, player video, telefono cellulare, palmare, console portatile, GPS, telecomando, fotocamera e che altro ancora?
Presso l'USPTO – US Patent & Trademark Office è stato depositato in primavera il brevetto # 0060197753, il cui inventore è Steven P. Hotelling. Il progetto di uno straordinario nuovo "all-in-one" è strettamente legato ad altri brevetti, tra i quali il contemporaneo # 0060197750 e quelli già notati un mese e mezzo fa.
In sintesi questo nuovo apparecchio sarebbe praticamente privo di tasti e, ogni comando, sarebbe impartito sullo schermo panoramico sensibile con una o più dita, tale display sarebbe in grado di riconfigurarsi (disegnarsi) a seconda del diverso tipo di utilizzo. Nelle immagini a corredo del brevetto si nota come il dispositivo, a
tutto schermo (sensibile allo sfioramento) si riconfigura con
un'interfaccia grafica assolutamente tipica, per il diverso utilizzo
richiamato.
Nel brevetto vengono elencati una serie molto lunga di dispositivi portatili attualmente esistenti sul mercato, singolarmente: console portatile, telefono cellulare, palmare, player multimediale, telecomando, GPS, "handtop" (una sub-notebook miniaturizzato). Questo prodotto multifunzione potrebbe inglobarne "due o più", come recita la descrizione.
Si seleziona da un menu la funzione necessitata e la periferica trasforma l'interfaccia grafica per quell'uso.
Attualmente, se si desiderasse avere appresso ognuno di questi dispositivi portatili, tutti di forma diversa, sarebbe necessario considerare una voluminosa borsa, l'inventore di questo brevetto prevede invece un unico menu.
La miniaturizzazione, la potenza di calcolo e di archiviazione oltre che quella di alimentazione saranno ai massimi livelli se un simile prodotto vedrà mai la luce.
