Capture The Flag 2007: i migliori hacker sono italiani
10/12/2007 19:00 CET
Il team italiano dei Chocolate Makers dell'Università degli Studi di Milano vince la competizione internazionale Capture The Flag tra i più esperti hacker del mondo.
Il team italiano dei Chocolate Makers dell'Università degli Studi di Milano vince la competizione internazionale Capture The Flag tra i più esperti hacker del mondo.
L'edizione 2007 dell'iCTF – International Capture The Flag del dipartimento si Scienza del Computer presso l'UCSB – University of California Santa Barbara è stata vinta da un gruppo di studenti d'informatica dell'Università degli Studi di Milano, superando altri 34 gruppi provenienti dalle università di otto paesi diversi.
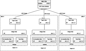
Gli hacker sono stati occupati per sette ore a scovare sette diverse vulnerabilità in sistemi appositamente creati per la competizione su rete virtuale VMware con Linux e/o BSD e/o Windows. Non bastava trovare il bug ma era necessario creare anche un patch correttivo.
Il team Chocolate Makers (Roberto Paleari, Emanuele Passerini, Davide Marrone, Giampaolo Fresi Roglia, Aristide Fattori, Luca Giancane, Stefano Calabrese e Alessandro Reina) capitanato dai docenti Danilo Bruschi e Mattia Monga, con il punteggio più alto di 89.554 (il secondo in classifica ha raggiunto i 62.214 punti), ha superato tutti alle 2 di notte di sabato, ora italiana.
