AutoText Technologies: ci hanno copiato in 23
14/11/2007 22:00 CET
Le maggiori aziende d'informatica, compresa Apple, avrebbero copiato una tecnologia brevettata per l'auto-completamento delle parole digitate. Anche il T9 è sotto accusa.
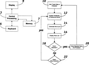
Il brevetto 5.305.205 del 1994 per la "trascrizione assistita sui computer" sarebbe stato violato da una lunga lista di 23 aziende.
Apple, AT&T, Helio, HP, HTC, IBM, Kyocera, LG, Microsoft, Motorola, Nintendo, Nokia, Nuance Communications, Palm, Qualcomm, RIM, Samsung, Sanyo, Sony, Sony Ericsson, T-Mobile, Verizon Wireless e Zi sono le società citate nella causa depositata venerdì scorso da AuToText Technologies presso il tribunale distrettuale del nord Ohio.
C'è chi, di recente, ha scoperto che fare causa a poche o a tante aziende costa la stessa cifra, quindi perché non coinvolgerne decine?
La misconosciuta società AutoText Technologies farebbe parte del gruppo Acacia Technologies, visto che si cita questo brevetto, acquisito il 2 maggio scoso, tra quelli gestiti: "una tecnologia che può essere usata nei telefoni cellulari/palmari, computer, programmi di posta elettronica, browser, motori di ricerca ed altre applicazioni dove l'auto-completazione dei testi rende l'inserimento di parole più efficiente".
Recentemente Apple ha estensivamente impiegato una tecnologia di questo tipo in vari sistemi online ed offline. Tra le aziende citate spicca Nuance che possiede il noto T9, presente in quasi tutti i cellulari esistenti.
